Bezpečnostné spojky CM


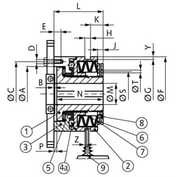
Material: Steel. Overload system operating on the positive principle, available in 5 sizes. For each size there are 4 different disk-plate sets for different torque ranges. The required disk-plate set S, M, L or LL has to be ordered separately and is supplied unassembled. When mounting simple driving elements, as sprockets, pulleys, etc., always make sure the shaft is supported. Optimal protection against overloads. Trigger torque can be adjusted. High reproducibility of the triggering and re-engaging process. Robust design, long service life, absolutely maintenance free. Immediate free-wheeling of the drive. Automatic emergency stop of the driving unit through switch (to be ordered seperately). Not negatively affected by frequent triggering sequences. The optional limit switch (emergency-stop switch) for all sizes Product No. 612 605 00 has to be ordered seperately. On request with works adjustment of torque limit. Customized bores and feather-key grooves available at surcharge.
Other types on request: Beside the standard type (dis-engaging / re-engaging), there are synchron types, lock types and releasing types available.
SKU | Size | Outer-Ø F [mm] | Bore M min. [mm] | Bore M max. [mm] | Length L [mm] | Fastening Bolt Circle C [mm] | Feather Set S [Art.-Nr.] | Torque Feather Set S [Nm] | Feather Set M [Art.-Nr.] | Torque Feather Set M [Nm] | Feather Set L [Art.-Nr.] | Torque Feather Set L [Nm] | Feather Set LL [Art.-Nr.] | Torque Feather Set LL [Nm] | Speed max. Type S-M [rpm] | Speed max. Type L-LL [rpm] | Weight [kg] |
---|---|---|---|---|---|---|---|---|---|---|---|---|---|---|---|---|---|
61262000 | 20 | 55 | 7 | 20 | 38,5 | 48 | 61262001 | 2,5 - 5 | 61262002 | 5 - 10 | 61262002 | 10 - 20 | 61262004 | 20 - 40 | 3300 | 1800 | 0,5 |
61262500 | 25 | 82 | 10 | 25 | 52,0 | 70 | 61262501 | 6 - 12 | 61262502 | 12 - 25 | 61262503 | 25 - 60 | 61262504 | 60 - 100 | 2890 | 1450 | 1,5 |
61263500 | 35 | 100 | 14 | 35 | 61,0 | 89 | 61263501 | 12 - 25 | 61263502 | 25 - 50 | 61263503 | 50 - 120 | 61263504 | 120 - 200 | 2350 | 1200 | 2,9 |
61264500 | 45 | 120 | 18 | 45 | 78,0 | 105 | 61264501 | 25 - 50 | 61264502 | 50 - 100 | 61264503 | 100 - 250 | 61264504 | 250 - 400 | 2000 | 1000 | 5,0 |
61265500 | 55 | 146 | 24 | 55 | 100 | 125 | 61265501 | 50 - 100 | 61265502 | 100 - 200 | 61265503 | 200 - 500 | 61265504 | 500 - 800 | 1650 | 850 | 9,8 |